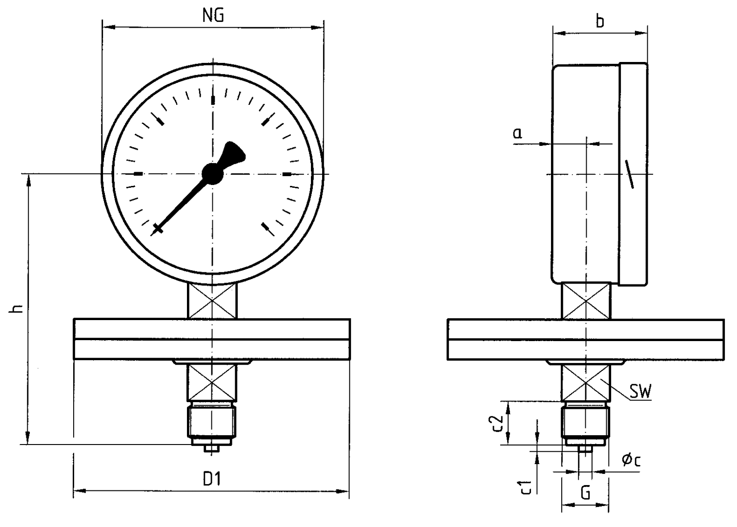
Products Our motto "Technology for Environmental Protection" has long been an inherent part of our product development philosophy and product range. We strive to improve the environment, to make processes which work with greater environmental compatibility and to avoid putting a strain on the environment. We offer you a multitude of innovative solutions, new products and smart concepts. More Informations Industries & Topics Industries & Topics Overview Fuel oil components Fuel oil components Overview Fast and clean oil filter change Avoiding fungal attacks in biofuel More performance with the sintered plastic sieve AFRISO Smart Home AFRISO Smart Home Overview Gateway HG 02 Products Products Overview AFRISOhome App Alexa Smart home applications Smart home applications Overview Leakage security Security Stand-alone applications Stand-alone applications Overview Getting started with AFRIShome Smart Home Craft 4.0 Craft 4.0 Overview OEM-Manifold systems Hydraulic Balancing Hydraulic Balancing Overview Vario-DP Tank conversion Hygienic processes AFRISO Smart Home AFRISO Smart Home offers innovative solutions for intelligent home automation. With modern sensors and actuators, you can easily and conveniently control your home. More Informations Service-Center Service-Center Overview Service Contact persons Data exchange formats Catalogs Service-Center Flexible, cost-aware, on schedule, solution-oriented and fast – the AFRISO team always provides the decisive added value. More Informations Training & Events Training & Events Overview Exhibitions Exhibitions Overview SHK+E 2026, Essen IFH Intherm 2026, Nuremberg GET Nord 2026, Hamburg Schulungen & Trainings Schulungen & Trainings Overview Heizen mit flüssigen Brennstoffen Inhouse-Schulung - Heizen mit flüssigen Brennstoffen Inhouse-Schulung Heizölverbraucheranlagen Smart Home Experte Search Industrial technology Mechanical pressure measuring instruments PF160Ch D402 Images 5 PF160Ch D402 Plattenfeder-Chemiemanometer Typ D4 Variants Documents Info housing ⌀ (nominal size)160 mmaccuracy class1,6standardEN 837-3 Benefits for low pressure rangeshigh overload protectionhigh resistanceoptional flange connections Application For corrosive gaseous and liquid media, also for use in corrosive environments. With open connection flange also suitable for viscous and polluted media. For measuring gas or vapour, observe the table "Selection Criteria as per EN 837-2" (see appendix)! Variants Technical data Technical drawings Downloads Variants RangeMounting typeTypePart number0/10 mbardirectPF160Ch D402859514020/16 mbardirectPF160Ch D402859524020/25 mbardirectPF160Ch D402859534020/40 mbardirectPF160Ch D402859544020/60 mbardirectPF160Ch D402859554020/100 mbardirectPF160Ch D402859564020/160 mbardirectPF160Ch D402859574020/250 mbardirectPF160Ch D40285958402 in-stock items manufactured goods Technical data TypeD4Nominal size160 - 160accuracy class (EN 837-3/6)1,6ranges (EN 837-3/5)see ordering tableapplication areastatic load: Full scale valuedynamic load: 0.9 x full scale valueOverpressure safety≤ 6 bar: at least 5 x FSOperating temperature rangeMedium: max. 100 °CAmbient: -20/+60 °CTemperature performanceIndication error when the temperature of the measuring system deviates from the normal temperature of 20 °C:bei Temperaturzunahme ca. ± 0,8 %/10 K,falling temperature approx. ± 0.8 %/10 Kvom jeweiligen SkalenendwertDegree of protectionIP 54 (EN 60529) Standard design Connectionstainless steel 316 Ti/316 L, bottomG½B, SW22 (EN 837-3/7.3)lower measuring flangeStainless steel 316 Lupper measuring flangeStainless steel 304Measuring elementdiaphragmMeasuring flange: DurathermSealFPM (Viton)movementStainless steelDialAluminium, weißScaling blackPointerAluminium, schwarzHousingEdelstahl 304, with blow-outbayonet bezelEdelstahl 304windowSicherheitsverbundglas Technical drawings Click the corresponding image for detail views, additional information and dimension tables. bottom connection, measuring flange ⌀ 160 Dimensions (mm)NGab∅cc1c2D1GhSW16020556320160G½B15622 Downloads Plattenfederstandard- und chemiemanometer Catalogue options Industrial technology PDF English German AFRISO_EU-KONFORMITAETSERKLAERUNG_DRUCKGERAETE_DE.PDF Industrial technology PDF Download Montage Manometer Manuals Industrial technology PDF Download Rohrfeder-, Kapselfeder-, Plattenfeder-, Membranfedermanometer für Differenzdruck Manuals Industrial technology PDF Ukrainian German German Related products
AFRISO Smart Home AFRISO Smart Home offers innovative solutions for intelligent home automation. With modern sensors and actuators, you can easily and conveniently control your home. More Informations Service-Center Service-Center Overview Service Contact persons Data exchange formats Catalogs Service-Center Flexible, cost-aware, on schedule, solution-oriented and fast – the AFRISO team always provides the decisive added value. More Informations Training & Events Training & Events Overview Exhibitions Exhibitions Overview SHK+E 2026, Essen IFH Intherm 2026, Nuremberg GET Nord 2026, Hamburg Schulungen & Trainings Schulungen & Trainings Overview Heizen mit flüssigen Brennstoffen Inhouse-Schulung - Heizen mit flüssigen Brennstoffen Inhouse-Schulung Heizölverbraucheranlagen Smart Home Experte Search
Service-Center Flexible, cost-aware, on schedule, solution-oriented and fast – the AFRISO team always provides the decisive added value. More Informations Training & Events Training & Events Overview Exhibitions Exhibitions Overview SHK+E 2026, Essen IFH Intherm 2026, Nuremberg GET Nord 2026, Hamburg Schulungen & Trainings Schulungen & Trainings Overview Heizen mit flüssigen Brennstoffen Inhouse-Schulung - Heizen mit flüssigen Brennstoffen Inhouse-Schulung Heizölverbraucheranlagen Smart Home Experte Search
Images 5 PF160Ch D402 Plattenfeder-Chemiemanometer Typ D4 Variants Documents Info housing ⌀ (nominal size)160 mmaccuracy class1,6standardEN 837-3 Benefits for low pressure rangeshigh overload protectionhigh resistanceoptional flange connections Application For corrosive gaseous and liquid media, also for use in corrosive environments. With open connection flange also suitable for viscous and polluted media. For measuring gas or vapour, observe the table "Selection Criteria as per EN 837-2" (see appendix)! Variants Technical data Technical drawings Downloads Variants RangeMounting typeTypePart number0/10 mbardirectPF160Ch D402859514020/16 mbardirectPF160Ch D402859524020/25 mbardirectPF160Ch D402859534020/40 mbardirectPF160Ch D402859544020/60 mbardirectPF160Ch D402859554020/100 mbardirectPF160Ch D402859564020/160 mbardirectPF160Ch D402859574020/250 mbardirectPF160Ch D40285958402 in-stock items manufactured goods Technical data TypeD4Nominal size160 - 160accuracy class (EN 837-3/6)1,6ranges (EN 837-3/5)see ordering tableapplication areastatic load: Full scale valuedynamic load: 0.9 x full scale valueOverpressure safety≤ 6 bar: at least 5 x FSOperating temperature rangeMedium: max. 100 °CAmbient: -20/+60 °CTemperature performanceIndication error when the temperature of the measuring system deviates from the normal temperature of 20 °C:bei Temperaturzunahme ca. ± 0,8 %/10 K,falling temperature approx. ± 0.8 %/10 Kvom jeweiligen SkalenendwertDegree of protectionIP 54 (EN 60529) Standard design Connectionstainless steel 316 Ti/316 L, bottomG½B, SW22 (EN 837-3/7.3)lower measuring flangeStainless steel 316 Lupper measuring flangeStainless steel 304Measuring elementdiaphragmMeasuring flange: DurathermSealFPM (Viton)movementStainless steelDialAluminium, weißScaling blackPointerAluminium, schwarzHousingEdelstahl 304, with blow-outbayonet bezelEdelstahl 304windowSicherheitsverbundglas Technical drawings Click the corresponding image for detail views, additional information and dimension tables. bottom connection, measuring flange ⌀ 160 Dimensions (mm)NGab∅cc1c2D1GhSW16020556320160G½B15622 Downloads Plattenfederstandard- und chemiemanometer Catalogue options Industrial technology PDF English German AFRISO_EU-KONFORMITAETSERKLAERUNG_DRUCKGERAETE_DE.PDF Industrial technology PDF Download Montage Manometer Manuals Industrial technology PDF Download Rohrfeder-, Kapselfeder-, Plattenfeder-, Membranfedermanometer für Differenzdruck Manuals Industrial technology PDF Ukrainian German German
Rohrfeder-, Kapselfeder-, Plattenfeder-, Membranfedermanometer für Differenzdruck Manuals Industrial technology PDF Ukrainian German German