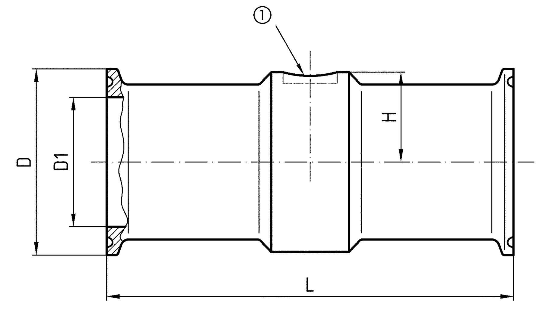
Products Our motto "Technology for Environmental Protection" has long been an inherent part of our product development philosophy and product range. We strive to improve the environment, to make processes which work with greater environmental compatibility and to avoid putting a strain on the environment. We offer you a multitude of innovative solutions, new products and smart concepts. More Informations Industries & Topics Industries & Topics Overview Fuel oil components Fuel oil components Overview Fast and clean oil filter change Avoiding fungal attacks in biofuel More performance with the sintered plastic sieve AFRISO Smart Home AFRISO Smart Home Overview Gateway HG 02 Products Products Overview AFRISOhome App Alexa Smart home applications Smart home applications Overview Leakage security Security Stand-alone applications Stand-alone applications Overview Getting started with AFRIShome Smart Home Craft 4.0 Craft 4.0 Overview OEM-Manifold systems Hydraulic Balancing Hydraulic Balancing Overview Vario-DP Tank conversion Hygienic processes AFRISO Smart Home AFRISO Smart Home offers innovative solutions for intelligent home automation. With modern sensors and actuators, you can easily and conveniently control your home. More Informations Service-Center Service-Center Overview Service Contact persons Data exchange formats Catalogs Service-Center Flexible, cost-aware, on schedule, solution-oriented and fast – the AFRISO team always provides the decisive added value. More Informations Training & Events Training & Events Overview Exhibitions Exhibitions Overview SHK+E 2026, Essen IFH Intherm 2026, Nuremberg GET Nord 2026, Hamburg Schulungen & Trainings Schulungen & Trainings Overview Heizen mit flüssigen Brennstoffen Inhouse-Schulung - Heizen mit flüssigen Brennstoffen Inhouse-Schulung Heizölverbraucheranlagen Smart Home Experte Search Industrial technology Process separators: chemical seals RD 60 Images 5 RD 60 In-line chemical seals for hygienic processes Variants Documents Benefits for clamp connection ISO 2852no T piece required in pipeeasy, fast installation in pipe Application For use with Bourdon tube pressure gauges, pressure transducers or pressure switches. For flowing, corrosive and highly viscous media; designed for direct installation in pipes. Typical application areas:Biochemical applicationsFood and luxury food industryBeverages industryPharmaceutical industry Variants Technical data Technical drawings Downloads Variants process connection, standardProcess connectionInstrument connectionNominal diameterNominal pressureminimum range* (in bar) at nominal sizePart no.63100160DMUclamp connection ISO 2852DN 1"Welded connectionPN 161.6 bar2.5 bar1.6 bar31377Wclamp connection ISO 2852DN 1½"Welded connectionPN 161.6 bar2.5 bar4 bar1.6 bar31378Wclamp connection ISO 2852DN 2"Welded connectionPN 161.6 bar2.5 bar2.5 bar1 bar31379Wclamp connection ISO 2852DN 2½"Welded connectionPN 161.6 bar2.5 bar2.5 bar1 bar31380Wclamp connection ISO 2852DN 3"Welded connectionPN 101.6 bar2.5 bar2.5 bar1 bar31381W in-stock items manufactured goods Technical data Process connection/tubusStainless steel 316 Lclamp connection ISO 2852diaphragmStainless steel 316 L, welded to body, no dead spaceInstrument connectionStainless steel 316 LWelded connectionpressure transmission liquidParaffin oil (FM 09), FDA-listedpressure rangesee overview of versionsNominal pressurePN 16 Technical drawings Click the corresponding image for detail views, additional information and dimension tables. Type RD 60 Clamp ISO 2852 Welded connection ⌀ 10 for measuring instrument DNPNDD1LH1"1650,522,2110241½"1650,534,811031,52"166447,8110372½"1677,560,3110453"109172,96051,5 Downloads Druckmittler PDF Italian English German Related products
AFRISO Smart Home AFRISO Smart Home offers innovative solutions for intelligent home automation. With modern sensors and actuators, you can easily and conveniently control your home. More Informations Service-Center Service-Center Overview Service Contact persons Data exchange formats Catalogs Service-Center Flexible, cost-aware, on schedule, solution-oriented and fast – the AFRISO team always provides the decisive added value. More Informations Training & Events Training & Events Overview Exhibitions Exhibitions Overview SHK+E 2026, Essen IFH Intherm 2026, Nuremberg GET Nord 2026, Hamburg Schulungen & Trainings Schulungen & Trainings Overview Heizen mit flüssigen Brennstoffen Inhouse-Schulung - Heizen mit flüssigen Brennstoffen Inhouse-Schulung Heizölverbraucheranlagen Smart Home Experte Search
Service-Center Flexible, cost-aware, on schedule, solution-oriented and fast – the AFRISO team always provides the decisive added value. More Informations Training & Events Training & Events Overview Exhibitions Exhibitions Overview SHK+E 2026, Essen IFH Intherm 2026, Nuremberg GET Nord 2026, Hamburg Schulungen & Trainings Schulungen & Trainings Overview Heizen mit flüssigen Brennstoffen Inhouse-Schulung - Heizen mit flüssigen Brennstoffen Inhouse-Schulung Heizölverbraucheranlagen Smart Home Experte Search
Images 5 RD 60 In-line chemical seals for hygienic processes Variants Documents Benefits for clamp connection ISO 2852no T piece required in pipeeasy, fast installation in pipe Application For use with Bourdon tube pressure gauges, pressure transducers or pressure switches. For flowing, corrosive and highly viscous media; designed for direct installation in pipes. Typical application areas:Biochemical applicationsFood and luxury food industryBeverages industryPharmaceutical industry Variants Technical data Technical drawings Downloads Variants process connection, standardProcess connectionInstrument connectionNominal diameterNominal pressureminimum range* (in bar) at nominal sizePart no.63100160DMUclamp connection ISO 2852DN 1"Welded connectionPN 161.6 bar2.5 bar1.6 bar31377Wclamp connection ISO 2852DN 1½"Welded connectionPN 161.6 bar2.5 bar4 bar1.6 bar31378Wclamp connection ISO 2852DN 2"Welded connectionPN 161.6 bar2.5 bar2.5 bar1 bar31379Wclamp connection ISO 2852DN 2½"Welded connectionPN 161.6 bar2.5 bar2.5 bar1 bar31380Wclamp connection ISO 2852DN 3"Welded connectionPN 101.6 bar2.5 bar2.5 bar1 bar31381W in-stock items manufactured goods Technical data Process connection/tubusStainless steel 316 Lclamp connection ISO 2852diaphragmStainless steel 316 L, welded to body, no dead spaceInstrument connectionStainless steel 316 LWelded connectionpressure transmission liquidParaffin oil (FM 09), FDA-listedpressure rangesee overview of versionsNominal pressurePN 16 Technical drawings Click the corresponding image for detail views, additional information and dimension tables. Type RD 60 Clamp ISO 2852 Welded connection ⌀ 10 for measuring instrument DNPNDD1LH1"1650,522,2110241½"1650,534,811031,52"166447,8110372½"1677,560,3110453"109172,96051,5 Downloads Druckmittler PDF Italian English German