Products Our motto "Technology for Environmental Protection" has long been an inherent part of our product development philosophy and product range. We strive to improve the environment, to make processes which work with greater environmental compatibility and to avoid putting a strain on the environment. We offer you a multitude of innovative solutions, new products and smart concepts. More Informations Industries & Topics Industries & Topics Overview Fuel oil components Fuel oil components Overview Fast and clean oil filter change Avoiding fungal attacks in biofuel More performance with the sintered plastic sieve AFRISO Smart Home AFRISO Smart Home Overview Gateway HG 02 Products Products Overview AFRISOhome App Alexa Smart home applications Smart home applications Overview Leakage security Security Stand-alone applications Stand-alone applications Overview Getting started with AFRIShome Smart Home Craft 4.0 Craft 4.0 Overview OEM-Manifold systems Hydraulic Balancing Hydraulic Balancing Overview Vario-DP Tank conversion Hygienic processes AFRISO Smart Home AFRISO Smart Home offers innovative solutions for intelligent home automation. With modern sensors and actuators, you can easily and conveniently control your home. More Informations Service-Center Service-Center Overview Service Contact persons Data exchange formats Catalogs Service-Center Flexible, cost-aware, on schedule, solution-oriented and fast – the AFRISO team always provides the decisive added value. More Informations Training & Events Training & Events Overview Exhibitions Exhibitions Overview SHK+E 2026, Essen IFH Intherm 2026, Nuremberg GET Nord 2026, Hamburg Schulungen & Trainings Schulungen & Trainings Overview Heizen mit flüssigen Brennstoffen Inhouse-Schulung - Heizen mit flüssigen Brennstoffen Inhouse-Schulung Heizölverbraucheranlagen Smart Home Experte Search Industrial technology Temperature measuring instruments / temperature controllers FTh 160 Ch D442 Images 1 FTh 160 Ch D442 gas filled thermometer for chemical applications Variants Benefits for chemical, process engineering and food industry applicationshigh measuring accuracyfast response Application For corrosive media. Meets the most exacting measuring demands, e.g. in process engineering as well as chemical and food industry applications. Variants Technical data Technical drawings Variants Typehousing ⌀RangeTypeTypePart no.FTh 160 Ch160 mm-20/+60 °CFTh 160 ChD44264343442FTh 160 Ch160 mm0/60 °CFTh 160 ChD44264363442FTh 160 Ch160 mm0/120 °CFTh 160 ChD44264375442FTh 160 Ch160 mm0/160 °CFTh 160 ChD44264379442FTh 160 Ch160 mm0/200 °CFTh 160 ChD44264383442FTh 160 Ch160 mm0/300 °CFTh 160 ChD44264391442FTh 160 Ch160 mm0/400 °CFTh 160 ChD44264399442FTh 160 Ch160 mm0/500 °CFTh 160 ChD44264403442 in-stock items manufactured goods Technical data TypeD4Nominal size160 - 160Measuring principlePressurised gas fillingaccuracy class1 (EN 13190)ranges °C-20/+60 °CApplication area (EN 13190)continuous load: Full scale valueshort-term: 1.1 x full scale valueOperating pressure at thermowellmax. 10 bar (max. Up to 300 °C)Degree of protectionIP 65 (EN 60529) Standard design ConnectionStem: Stainless steel 321, ∅ 10 mm, plainmounting positionbottomDialAluminium, weißScaling blackPointerAluminium, schwarzZero correctionat the sidemovementBrassHousingEdelstahl 304bayonet bezelEdelstahl 304windowInstrumentenglas Technical drawings Click the corresponding image for detail views, additional information and dimension tables. Version with capillary and wall bracket Dimensions (mm) NG a b D 100 13 45 101 160 13 45 161 Related products
AFRISO Smart Home AFRISO Smart Home offers innovative solutions for intelligent home automation. With modern sensors and actuators, you can easily and conveniently control your home. More Informations Service-Center Service-Center Overview Service Contact persons Data exchange formats Catalogs Service-Center Flexible, cost-aware, on schedule, solution-oriented and fast – the AFRISO team always provides the decisive added value. More Informations Training & Events Training & Events Overview Exhibitions Exhibitions Overview SHK+E 2026, Essen IFH Intherm 2026, Nuremberg GET Nord 2026, Hamburg Schulungen & Trainings Schulungen & Trainings Overview Heizen mit flüssigen Brennstoffen Inhouse-Schulung - Heizen mit flüssigen Brennstoffen Inhouse-Schulung Heizölverbraucheranlagen Smart Home Experte Search
Service-Center Flexible, cost-aware, on schedule, solution-oriented and fast – the AFRISO team always provides the decisive added value. More Informations Training & Events Training & Events Overview Exhibitions Exhibitions Overview SHK+E 2026, Essen IFH Intherm 2026, Nuremberg GET Nord 2026, Hamburg Schulungen & Trainings Schulungen & Trainings Overview Heizen mit flüssigen Brennstoffen Inhouse-Schulung - Heizen mit flüssigen Brennstoffen Inhouse-Schulung Heizölverbraucheranlagen Smart Home Experte Search
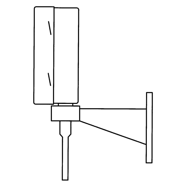
Images 1 FTh 160 Ch D442 gas filled thermometer for chemical applications Variants Benefits for chemical, process engineering and food industry applicationshigh measuring accuracyfast response Application For corrosive media. Meets the most exacting measuring demands, e.g. in process engineering as well as chemical and food industry applications. Variants Technical data Technical drawings Variants Typehousing ⌀RangeTypeTypePart no.FTh 160 Ch160 mm-20/+60 °CFTh 160 ChD44264343442FTh 160 Ch160 mm0/60 °CFTh 160 ChD44264363442FTh 160 Ch160 mm0/120 °CFTh 160 ChD44264375442FTh 160 Ch160 mm0/160 °CFTh 160 ChD44264379442FTh 160 Ch160 mm0/200 °CFTh 160 ChD44264383442FTh 160 Ch160 mm0/300 °CFTh 160 ChD44264391442FTh 160 Ch160 mm0/400 °CFTh 160 ChD44264399442FTh 160 Ch160 mm0/500 °CFTh 160 ChD44264403442 in-stock items manufactured goods Technical data TypeD4Nominal size160 - 160Measuring principlePressurised gas fillingaccuracy class1 (EN 13190)ranges °C-20/+60 °CApplication area (EN 13190)continuous load: Full scale valueshort-term: 1.1 x full scale valueOperating pressure at thermowellmax. 10 bar (max. Up to 300 °C)Degree of protectionIP 65 (EN 60529) Standard design ConnectionStem: Stainless steel 321, ∅ 10 mm, plainmounting positionbottomDialAluminium, weißScaling blackPointerAluminium, schwarzZero correctionat the sidemovementBrassHousingEdelstahl 304bayonet bezelEdelstahl 304windowInstrumentenglas Technical drawings Click the corresponding image for detail views, additional information and dimension tables. Version with capillary and wall bracket Dimensions (mm) NG a b D 100 13 45 101 160 13 45 161