Products Our motto "Technology for Environmental Protection" has long been an inherent part of our product development philosophy and product range. More Informations Industries & Topics Industries & Topics Overview Fuel oil components Fuel oil components Overview Fast and clean oil filter change Avoiding fungal attacks in biofuel More performance with the sintered plastic sieve AFRISO Smart Home AFRISO Smart Home Overview Gateway HG 02 Products Products Overview Gateway Produkte Sicherheit Komfort Raumklima AFRISOhome App Alexa Smart home applications Smart home applications Overview Intelligente Fußbodenheizung Leakage security Komfortable Heizkörperregelung Security Stand-alone applications Stand-alone applications Overview Getting started with AFRIShome Smart Home Alarmanlage Einbruchschutz Raumklima Wasserleckage-Detektion Craft 4.0 Craft 4.0 Overview EUROLYZER® CAPBs®-Sets CAPBs®-Sets Overview App OEM-Manifold systems Hydraulic Balancing Hydraulic Balancing Overview Vario-DP Tank conversion Hygienic processes AFRISO Smart Home AFRISO Smart Home offers innovative solutions for intelligent home automation. With modern sensors and actuators, you can easily and conveniently control your home. More Informations Service-Center Service-Center Overview Service Contact persons Catalogs Service-Center Flexible, cost-aware, on schedule, solution-oriented and fast – the AFRISO team always provides the decisive added value. More Informations Training & Events Training & Events Overview Exhibitions Exhibitions Overview SHK+E 2026, Essen IFH Intherm 2026, Nuremberg GET Nord 2026, Hamburg Search Industrial technology Process separators: chemical seals MD 80 Images 2 MD 80 Membrandruckmittler Flanschausführung Variants Documents Benefits flush, welded diaphragmfor DIN and ASME flange connectionsnumerous special materials and coatings (option)with bottom instrument connection as cell design (option) Application For mounting to Bourdon tube pressure gauges, pressure transducers or pressure switches. For corrosive, highly viscous, polluted, crystallising or hot media. Typical application areas:Chemical IndustryPetrochemistryRefineriesPower plant engineering Variants Technical data Technical drawings Downloads Variants Process connectionstandardInstrument connectionNominal pressureminimum range* (in bar) at nominal sizePart no.63100160DMUDMU 13 Vario1"flange connection as per ASME B 16.5 (Raised Face)Welded connectionCL 1504 bar4 bar1 bar31393W1"flange connection as per ASME B 16.5 (Raised Face)Welded connectionCL 3004 bar4 bar1 bar31394W1½"flange connection as per ASME B 16.5 (Raised Face)Welded connectionCL 1504 bar4 bar4 bar1 bar1 bar31396W1½"flange connection as per ASME B 16.5 (Raised Face)Welded connectionCL 3004 bar4 bar4 bar1 bar1 bar31397W2"flange connection as per ASME B 16.5 (Raised Face)Welded connectionCL 1500.6 bar0.6 bar0.6 bar0.6 bar0.6 bar31399W2"flange connection as per ASME B 16.5 (Raised Face)Welded connectionCL 3000.6 bar0.6 bar0.6 bar0.6 bar0.6 bar31400W3"flange connection as per ASME B 16.5 (Raised Face)Welded connectionCL 1500.6 bar0.6 bar0.6 bar0.6 bar0.6 bar31402W3"flange connection as per ASME B 16.5 (Raised Face)Welded connectionCL 3000.6 bar0.6 bar0.6 bar0.6 bar0.6 bar31403W4"flange connection as per ASME B 16.5 (Raised Face)Welded connectionCL 1500.6 bar0.6 bar0.6 bar0.6 bar0.6 bar31405W4"flange connection as per ASME B 16.5 (Raised Face)Welded connectionCL 3000.6 bar0.6 bar0.6 bar0.6 bar0.6 bar31406W in-stock items manufactured goods Technical data Process connection/tubusStainless steel 316 Lflange connection as per ASME B 16.5 (Raised Face)diaphragmStainless steel 316 LInstrument connectionWelded connectionpressure transmission liquidParaffin oil (FM 09), FDA-listedpressure rangesee overview of versionsNominal pressureCL 150 Technical drawings Click the corresponding image for detail views, additional information and dimension tables. Type MD 80 - flange connection as per ASME B 16.5 (Raised Face) DNCLDd1d2d3Hhdm1"15010850,879,44x15,914,31,628300123,950,888,94x19,117,51,6281½"15012773,298,64x15,917,51,636300155,673,2114,34x22,422,41,6362"150152,492,1120,74x19,119,11,648300165,192,11278x19,125,41,6483"150190,5127152,44x19,123,91,648300209,6127168,38x22,431,81,6484"150228,6157,2190,58x19,123,91,648300254157,2200,18x22,331,71,648 Downloads AFRISO_MEMBRANDRUCKMITTLER-FLANSCHAUSFUEHRUNG_DEU_DEU_20260210_003307610.PDF Data sheets Industrial technology PDF English German Membrandruckmittler MD 80/MD 81 Catalogue options Industrial technology PDF English German Druckmittler PDF Italian English German Related products
AFRISO Smart Home AFRISO Smart Home offers innovative solutions for intelligent home automation. With modern sensors and actuators, you can easily and conveniently control your home. More Informations Service-Center Service-Center Overview Service Contact persons Catalogs Service-Center Flexible, cost-aware, on schedule, solution-oriented and fast – the AFRISO team always provides the decisive added value. More Informations Training & Events Training & Events Overview Exhibitions Exhibitions Overview SHK+E 2026, Essen IFH Intherm 2026, Nuremberg GET Nord 2026, Hamburg Search
Service-Center Flexible, cost-aware, on schedule, solution-oriented and fast – the AFRISO team always provides the decisive added value. More Informations Training & Events Training & Events Overview Exhibitions Exhibitions Overview SHK+E 2026, Essen IFH Intherm 2026, Nuremberg GET Nord 2026, Hamburg Search
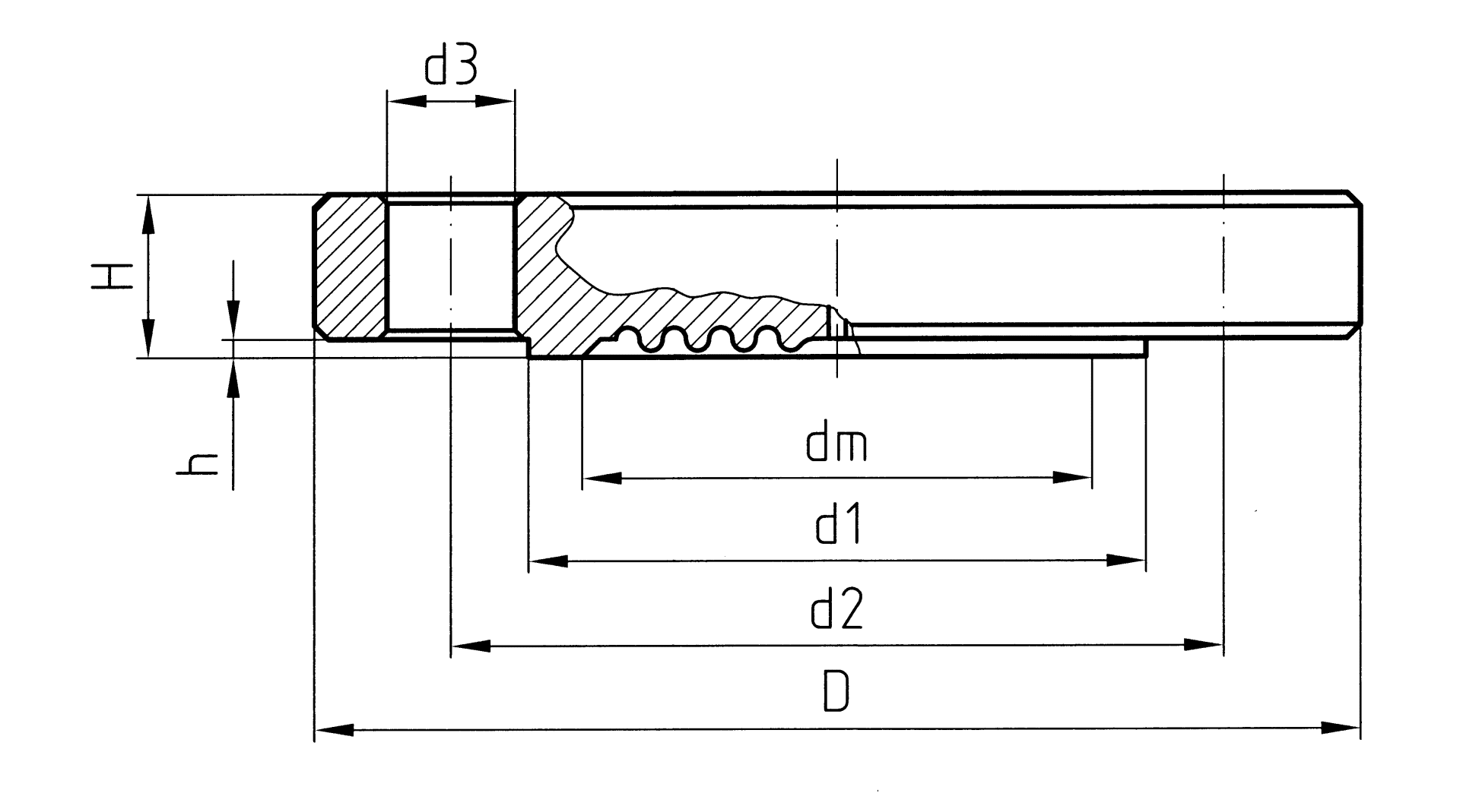
Images 2 MD 80 Membrandruckmittler Flanschausführung Variants Documents Benefits flush, welded diaphragmfor DIN and ASME flange connectionsnumerous special materials and coatings (option)with bottom instrument connection as cell design (option) Application For mounting to Bourdon tube pressure gauges, pressure transducers or pressure switches. For corrosive, highly viscous, polluted, crystallising or hot media. Typical application areas:Chemical IndustryPetrochemistryRefineriesPower plant engineering Variants Technical data Technical drawings Downloads Variants Process connectionstandardInstrument connectionNominal pressureminimum range* (in bar) at nominal sizePart no.63100160DMUDMU 13 Vario1"flange connection as per ASME B 16.5 (Raised Face)Welded connectionCL 1504 bar4 bar1 bar31393W1"flange connection as per ASME B 16.5 (Raised Face)Welded connectionCL 3004 bar4 bar1 bar31394W1½"flange connection as per ASME B 16.5 (Raised Face)Welded connectionCL 1504 bar4 bar4 bar1 bar1 bar31396W1½"flange connection as per ASME B 16.5 (Raised Face)Welded connectionCL 3004 bar4 bar4 bar1 bar1 bar31397W2"flange connection as per ASME B 16.5 (Raised Face)Welded connectionCL 1500.6 bar0.6 bar0.6 bar0.6 bar0.6 bar31399W2"flange connection as per ASME B 16.5 (Raised Face)Welded connectionCL 3000.6 bar0.6 bar0.6 bar0.6 bar0.6 bar31400W3"flange connection as per ASME B 16.5 (Raised Face)Welded connectionCL 1500.6 bar0.6 bar0.6 bar0.6 bar0.6 bar31402W3"flange connection as per ASME B 16.5 (Raised Face)Welded connectionCL 3000.6 bar0.6 bar0.6 bar0.6 bar0.6 bar31403W4"flange connection as per ASME B 16.5 (Raised Face)Welded connectionCL 1500.6 bar0.6 bar0.6 bar0.6 bar0.6 bar31405W4"flange connection as per ASME B 16.5 (Raised Face)Welded connectionCL 3000.6 bar0.6 bar0.6 bar0.6 bar0.6 bar31406W in-stock items manufactured goods Technical data Process connection/tubusStainless steel 316 Lflange connection as per ASME B 16.5 (Raised Face)diaphragmStainless steel 316 LInstrument connectionWelded connectionpressure transmission liquidParaffin oil (FM 09), FDA-listedpressure rangesee overview of versionsNominal pressureCL 150 Technical drawings Click the corresponding image for detail views, additional information and dimension tables. Type MD 80 - flange connection as per ASME B 16.5 (Raised Face) DNCLDd1d2d3Hhdm1"15010850,879,44x15,914,31,628300123,950,888,94x19,117,51,6281½"15012773,298,64x15,917,51,636300155,673,2114,34x22,422,41,6362"150152,492,1120,74x19,119,11,648300165,192,11278x19,125,41,6483"150190,5127152,44x19,123,91,648300209,6127168,38x22,431,81,6484"150228,6157,2190,58x19,123,91,648300254157,2200,18x22,331,71,648 Downloads AFRISO_MEMBRANDRUCKMITTLER-FLANSCHAUSFUEHRUNG_DEU_DEU_20260210_003307610.PDF Data sheets Industrial technology PDF English German Membrandruckmittler MD 80/MD 81 Catalogue options Industrial technology PDF English German Druckmittler PDF Italian English German
AFRISO_MEMBRANDRUCKMITTLER-FLANSCHAUSFUEHRUNG_DEU_DEU_20260210_003307610.PDF Data sheets Industrial technology PDF English German