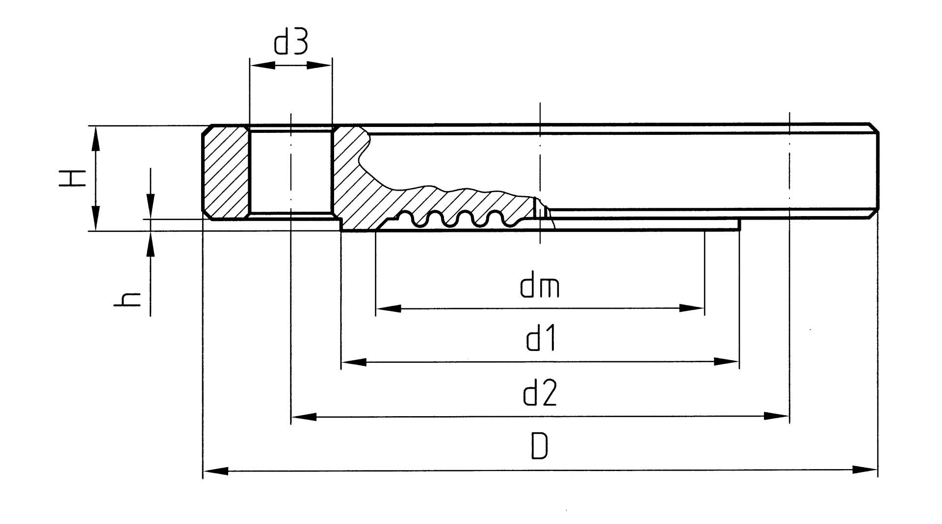
Products Our motto "Technology for Environmental Protection" has long been an inherent part of our product development philosophy and product range. More Informations Industries & Topics Industries & Topics Overview Fuel oil components Fuel oil components Overview Fast and clean oil filter change Avoiding fungal attacks in biofuel More performance with the sintered plastic sieve AFRISO Smart Home AFRISO Smart Home Overview Gateway HG 02 Products Products Overview Gateway Produkte Sicherheit Komfort Raumklima AFRISOhome App Alexa Smart home applications Smart home applications Overview Intelligente Fußbodenheizung Leakage security Komfortable Heizkörperregelung Security Stand-alone applications Stand-alone applications Overview Getting started with AFRIShome Smart Home Alarmanlage Einbruchschutz Raumklima Wasserleckage-Detektion Craft 4.0 Craft 4.0 Overview EUROLYZER® CAPBs®-Sets CAPBs®-Sets Overview App OEM-Manifold systems Hydraulic Balancing Hydraulic Balancing Overview Vario-DP Tank conversion Hygienic processes AFRISO Smart Home AFRISO Smart Home offers innovative solutions for intelligent home automation. With modern sensors and actuators, you can easily and conveniently control your home. More Informations Service-Center Service-Center Overview Service Contact persons Catalogs Service-Center Flexible, cost-aware, on schedule, solution-oriented and fast – the AFRISO team always provides the decisive added value. More Informations Training & Events Training & Events Overview Exhibitions Exhibitions Overview SHK+E 2026, Essen IFH Intherm 2026, Nuremberg GET Nord 2026, Hamburg Search Industrial technology Process separators: chemical seals MD 80 Images 2 MD 80 Membrandruckmittler Flanschausführung Variants Documents Benefits flush, welded diaphragmfor DIN and ASME flange connectionsnumerous special materials and coatings (option)with bottom instrument connection as cell design (option) Application For mounting to Bourdon tube pressure gauges, pressure transducers or pressure switches. For corrosive, highly viscous, polluted, crystallising or hot media. Typical application areas:Chemical IndustryPetrochemistryRefineriesPower plant engineering Variants Technical data Technical drawings Downloads Variants Process connectionstandardInstrument connectionNominal pressureminimum range* (in bar) at nominal sizePart no.63100160DMUDMU 13 VarioDN 25flange connection as per EN 1092-1 type B 1Welded connectionPN 404 bar4 bar0.6 bar31333WDN 40flange connection as per EN 1092-1 type B 1Welded connectionPN 404 bar4 bar0.6 bar0.6 bar31336WDN 50flange connection as per EN 1092-1 type B 1Welded connectionPN 400.6 bar0.6 bar0.6 bar0.6 bar0.6 bar31339WDN 80flange connection as per EN 1092-1 type B 1Welded connectionPN 400.6 bar0.6 bar0.6 bar0.6 bar0.6 bar31385WDN 100flange connection as per EN 1092-1 type B 1Welded connectionPN 400.6 bar0.6 bar0.6 bar0.6 bar0.6 bar31388W in-stock items manufactured goods Technical data Process connection/tubusStainless steel 316 Lflange connection as per EN 1092-1 type B 1diaphragmStainless steel 316 LInstrument connectionWelded connectionpressure transmission liquidParaffin oil (FM 09), FDA-listedpressure rangesee overview of versionsNominal pressurePN 40 Technical drawings Click the corresponding image for detail views, additional information and dimension tables. Type MD 80 - flange connection as per EN 1092-1 type B 1 DNPNDd1d2d3Hhdm254011568854x14182284040150881104x181824850401651021254x181824880402001381608x1824248100402351621908x2224248 Downloads AFRISO_MEMBRANDRUCKMITTLER-FLANSCHAUSFUEHRUNG_DEU_DEU.PDF Data sheets Industrial technology PDF English German Membrandruckmittler MD 80/MD 81 Catalogue options Industrial technology PDF English German Druckmittler PDF Italian English German Related products
AFRISO Smart Home AFRISO Smart Home offers innovative solutions for intelligent home automation. With modern sensors and actuators, you can easily and conveniently control your home. More Informations Service-Center Service-Center Overview Service Contact persons Catalogs Service-Center Flexible, cost-aware, on schedule, solution-oriented and fast – the AFRISO team always provides the decisive added value. More Informations Training & Events Training & Events Overview Exhibitions Exhibitions Overview SHK+E 2026, Essen IFH Intherm 2026, Nuremberg GET Nord 2026, Hamburg Search
Service-Center Flexible, cost-aware, on schedule, solution-oriented and fast – the AFRISO team always provides the decisive added value. More Informations Training & Events Training & Events Overview Exhibitions Exhibitions Overview SHK+E 2026, Essen IFH Intherm 2026, Nuremberg GET Nord 2026, Hamburg Search
Images 2 MD 80 Membrandruckmittler Flanschausführung Variants Documents Benefits flush, welded diaphragmfor DIN and ASME flange connectionsnumerous special materials and coatings (option)with bottom instrument connection as cell design (option) Application For mounting to Bourdon tube pressure gauges, pressure transducers or pressure switches. For corrosive, highly viscous, polluted, crystallising or hot media. Typical application areas:Chemical IndustryPetrochemistryRefineriesPower plant engineering Variants Technical data Technical drawings Downloads Variants Process connectionstandardInstrument connectionNominal pressureminimum range* (in bar) at nominal sizePart no.63100160DMUDMU 13 VarioDN 25flange connection as per EN 1092-1 type B 1Welded connectionPN 404 bar4 bar0.6 bar31333WDN 40flange connection as per EN 1092-1 type B 1Welded connectionPN 404 bar4 bar0.6 bar0.6 bar31336WDN 50flange connection as per EN 1092-1 type B 1Welded connectionPN 400.6 bar0.6 bar0.6 bar0.6 bar0.6 bar31339WDN 80flange connection as per EN 1092-1 type B 1Welded connectionPN 400.6 bar0.6 bar0.6 bar0.6 bar0.6 bar31385WDN 100flange connection as per EN 1092-1 type B 1Welded connectionPN 400.6 bar0.6 bar0.6 bar0.6 bar0.6 bar31388W in-stock items manufactured goods Technical data Process connection/tubusStainless steel 316 Lflange connection as per EN 1092-1 type B 1diaphragmStainless steel 316 LInstrument connectionWelded connectionpressure transmission liquidParaffin oil (FM 09), FDA-listedpressure rangesee overview of versionsNominal pressurePN 40 Technical drawings Click the corresponding image for detail views, additional information and dimension tables. Type MD 80 - flange connection as per EN 1092-1 type B 1 DNPNDd1d2d3Hhdm254011568854x14182284040150881104x181824850401651021254x181824880402001381608x1824248100402351621908x2224248 Downloads AFRISO_MEMBRANDRUCKMITTLER-FLANSCHAUSFUEHRUNG_DEU_DEU.PDF Data sheets Industrial technology PDF English German Membrandruckmittler MD 80/MD 81 Catalogue options Industrial technology PDF English German Druckmittler PDF Italian English German
AFRISO_MEMBRANDRUCKMITTLER-FLANSCHAUSFUEHRUNG_DEU_DEU.PDF Data sheets Industrial technology PDF English German