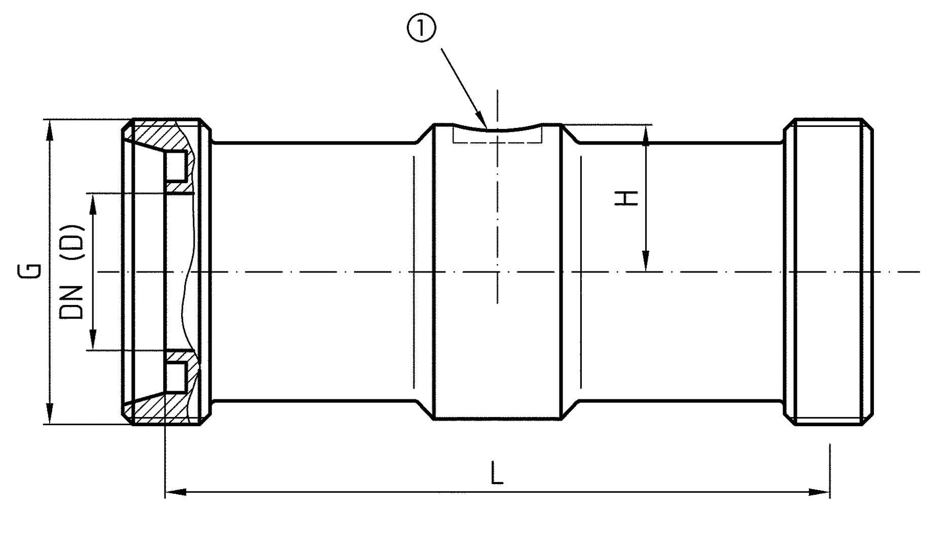
Products Our motto "Technology for Environmental Protection" has long been an inherent part of our product development philosophy and product range. More Informations Industries & Topics Industries & Topics Overview Fuel oil components Fuel oil components Overview Fast and clean oil filter change Avoiding fungal attacks in biofuel More performance with the sintered plastic sieve AFRISO Smart Home AFRISO Smart Home Overview Gateway HG 02 Products Products Overview Gateway Produkte Sicherheit Komfort Raumklima AFRISOhome App Alexa Smart home applications Smart home applications Overview Intelligente Fußbodenheizung Leakage security Komfortable Heizkörperregelung Security Stand-alone applications Stand-alone applications Overview Getting started with AFRIShome Smart Home Alarmanlage Einbruchschutz Raumklima Wasserleckage-Detektion Craft 4.0 Craft 4.0 Overview EUROLYZER® CAPBs®-Sets CAPBs®-Sets Overview App OEM-Manifold systems Hydraulic Balancing Hydraulic Balancing Overview Vario-DP Tank conversion Hygienic processes AFRISO Smart Home AFRISO Smart Home offers innovative solutions for intelligent home automation. With modern sensors and actuators, you can easily and conveniently control your home. More Informations Service-Center Service-Center Overview Service Contact persons Catalogs Service-Center Flexible, cost-aware, on schedule, solution-oriented and fast – the AFRISO team always provides the decisive added value. More Informations Training & Events Training & Events Overview Exhibitions Exhibitions Overview SHK+E 2026, Essen IFH Intherm 2026, Nuremberg GET Nord 2026, Hamburg Search Industrial technology Process separators: chemical seals RD 50 Images 2 RD 50 In-line chemical seals for hygienic processes Variants Documents Benefits for dairy fitting DIN 11851no T piece required in pipeeasy, fast installation in pipe Application For use with Bourdon tube pressure gauges, pressure transducers or pressure switches. For flowing, corrosive and highly viscous media; designed for direct installation in pipes. Typical application areas:Biochemical applicationsFood and luxury food industryBeverages industryPharmaceutical industry Variants Technical data Technical drawings Downloads Variants Process connectionNominal diameterInstrument connectionNominal pressureminimum range* (in bar) at nominal sizePart no.63100160DMUmale thread DIN 11851DN 15Welded connectionPN 401.6 bar4 bar31952Wmale thread DIN 11851DN 25Welded connectionPN 401.6 bar2.5 bar1 bar31365Wmale thread DIN 11851DN 32Welded connectionPN 401 bar2.5 bar1 bar31953Wmale thread DIN 11851DN 40Welded connectionPN 401 bar2.5 bar4 bar1 bar31366Wmale thread DIN 11851DN 50Welded connectionPN 251 bar2.5 bar4 bar0.6 bar31367Wmale thread DIN 11851DN 80Welded connectionPN 251 bar2.5 bar4 bar0.6 bar31369W in-stock items manufactured goods Technical data Process connection/tubusStainless steel 316 Lmale thread DIN 11851diaphragmStainless steel 316 L, welded to body, no dead spaceInstrument connectionStainless steel 316 LWelded connectionpressure transmission liquidParaffin oil (FM 09), FDA-listedpressure rangesee overview of versionsNominal pressurePN 40 Technical drawings Click the corresponding image for detail views, additional information and dimension tables. Type RD 50 - DIN 11851/DIN 11887 Welded connection ⌀ 10 for measuring instrument DNPNGLDH1540Rd34x⅛"24016202540Rd52x1/6"11026243240Rd58x1/6"11032294040Rd65x1/6"1103831,55025Rd78x1/6"11050376525Rd95x1/6"11066458025Rd110x1/4"608151,5 Downloads AFRISO_ROHRDRUCKMITTLER-FUER-HYGIENISCHE-PROZESSE_DEU_DEU_20260210_003254203.PDF Data sheets Industrial technology PDF English German Druckmittler PDF Italian English German Related products
AFRISO Smart Home AFRISO Smart Home offers innovative solutions for intelligent home automation. With modern sensors and actuators, you can easily and conveniently control your home. More Informations Service-Center Service-Center Overview Service Contact persons Catalogs Service-Center Flexible, cost-aware, on schedule, solution-oriented and fast – the AFRISO team always provides the decisive added value. More Informations Training & Events Training & Events Overview Exhibitions Exhibitions Overview SHK+E 2026, Essen IFH Intherm 2026, Nuremberg GET Nord 2026, Hamburg Search
Service-Center Flexible, cost-aware, on schedule, solution-oriented and fast – the AFRISO team always provides the decisive added value. More Informations Training & Events Training & Events Overview Exhibitions Exhibitions Overview SHK+E 2026, Essen IFH Intherm 2026, Nuremberg GET Nord 2026, Hamburg Search
Images 2 RD 50 In-line chemical seals for hygienic processes Variants Documents Benefits for dairy fitting DIN 11851no T piece required in pipeeasy, fast installation in pipe Application For use with Bourdon tube pressure gauges, pressure transducers or pressure switches. For flowing, corrosive and highly viscous media; designed for direct installation in pipes. Typical application areas:Biochemical applicationsFood and luxury food industryBeverages industryPharmaceutical industry Variants Technical data Technical drawings Downloads Variants Process connectionNominal diameterInstrument connectionNominal pressureminimum range* (in bar) at nominal sizePart no.63100160DMUmale thread DIN 11851DN 15Welded connectionPN 401.6 bar4 bar31952Wmale thread DIN 11851DN 25Welded connectionPN 401.6 bar2.5 bar1 bar31365Wmale thread DIN 11851DN 32Welded connectionPN 401 bar2.5 bar1 bar31953Wmale thread DIN 11851DN 40Welded connectionPN 401 bar2.5 bar4 bar1 bar31366Wmale thread DIN 11851DN 50Welded connectionPN 251 bar2.5 bar4 bar0.6 bar31367Wmale thread DIN 11851DN 80Welded connectionPN 251 bar2.5 bar4 bar0.6 bar31369W in-stock items manufactured goods Technical data Process connection/tubusStainless steel 316 Lmale thread DIN 11851diaphragmStainless steel 316 L, welded to body, no dead spaceInstrument connectionStainless steel 316 LWelded connectionpressure transmission liquidParaffin oil (FM 09), FDA-listedpressure rangesee overview of versionsNominal pressurePN 40 Technical drawings Click the corresponding image for detail views, additional information and dimension tables. Type RD 50 - DIN 11851/DIN 11887 Welded connection ⌀ 10 for measuring instrument DNPNGLDH1540Rd34x⅛"24016202540Rd52x1/6"11026243240Rd58x1/6"11032294040Rd65x1/6"1103831,55025Rd78x1/6"11050376525Rd95x1/6"11066458025Rd110x1/4"608151,5 Downloads AFRISO_ROHRDRUCKMITTLER-FUER-HYGIENISCHE-PROZESSE_DEU_DEU_20260210_003254203.PDF Data sheets Industrial technology PDF English German Druckmittler PDF Italian English German
AFRISO_ROHRDRUCKMITTLER-FUER-HYGIENISCHE-PROZESSE_DEU_DEU_20260210_003254203.PDF Data sheets Industrial technology PDF English German